- Information
-
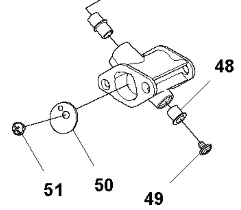
Valve, 5225435-01
Spare part from Husqvarna
Fits, among others:
Husqvarna 345FR
Husqvarna 545F
Husqvarna 545FR
Husqvarna 545FX / T
Husqvarna 545FX/T/Autotune
Husqvarna 545RX / T / Autotune
Husqvarna 545RX/T/Autotune
Jonsered
Jonsered CC2245
Jonsered FC2245
Jonsered FC2245W
Would you like to search through Husqvarna exploded views and spare parts? Then please use our spare parts catalogue. Click here to access the spare parts catalogue. Please remember to always verify the correct part number using the exploded view for your machine. - Specifications
-
Manufacturer's part number: 522 54 35-01 , 522543501 - Files
Price history
Price history
Our lowest price 30 days:

Uk - GBP
Sweden - SEK


