- Information
-
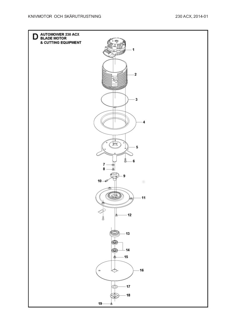
510 14 41-01 - Motor Bowl
Fits to
Gardena
R160, 2013-2015-01
Husqvarna
220 AC, 2010-2015
230 ACX, 2010-2014
260 ACX, 2009-2015
SOLAR HYBRID , 2011-2014 - Specifications
-
Manufacturer's part number: 510 14 41-01 , 510144101 - Files
Price history
Price history
Our lowest price 30 days:

Uk - GBP
Sweden - SEK




