- Information
-
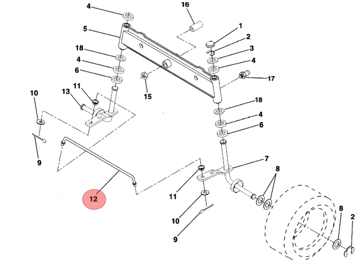
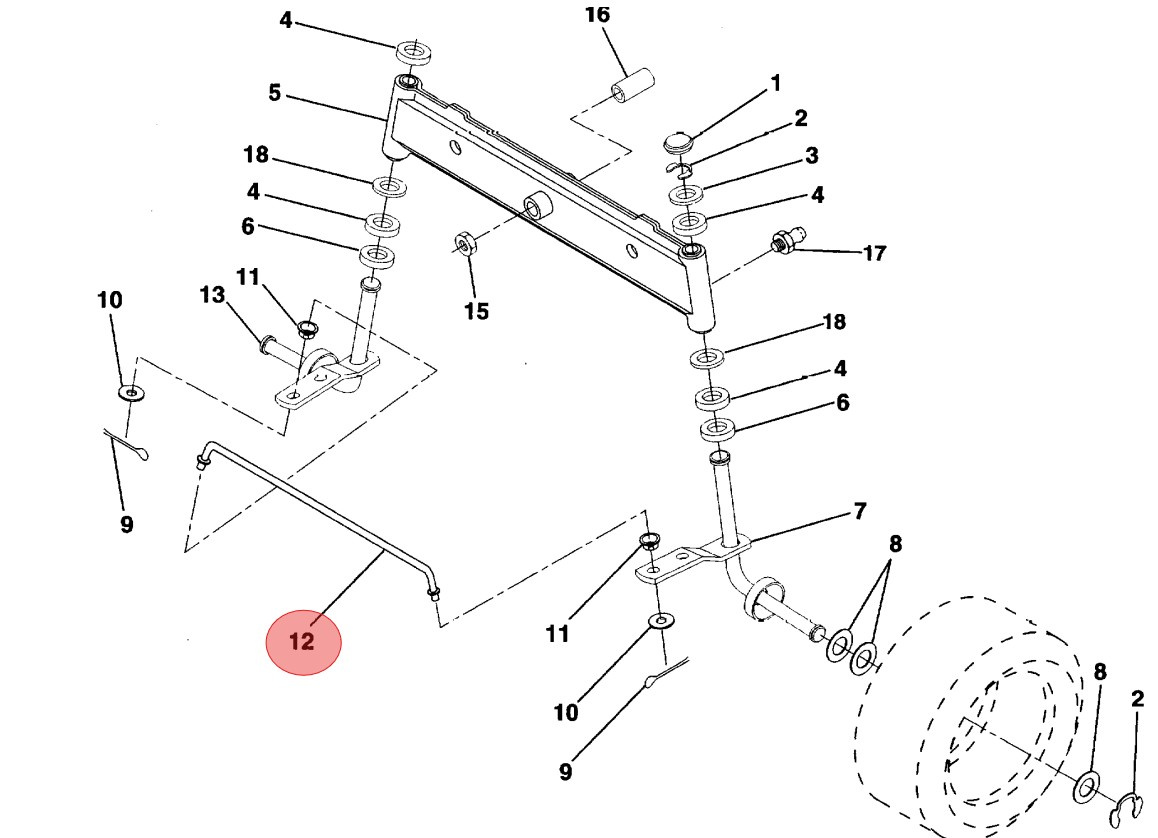
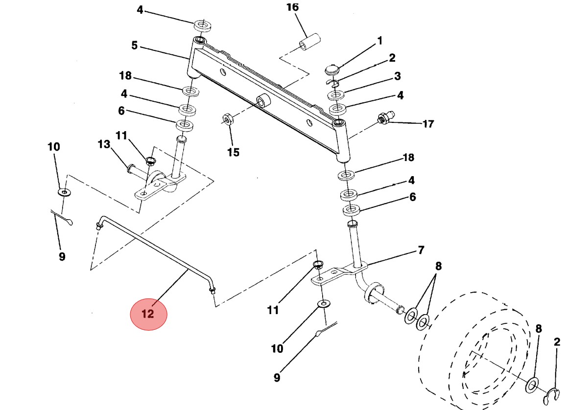
Husqvarna spare part with article number 532192757
Would you like to browse Husqvarna parts diagrams and spare parts? Then use our spare parts catalog. Click here to access the catalog.. - Specifications
-
Manufacturer's part number: 532 19 27-57 , 532192757 - Files
Price history
Price history
Our lowest price 30 days: €50.34

Uk - GBP
Sweden - SEK

